Published:2011/5/9 9:07:00 Author:Christina | Keyword: Remote alarm, grating | From:SeekIC

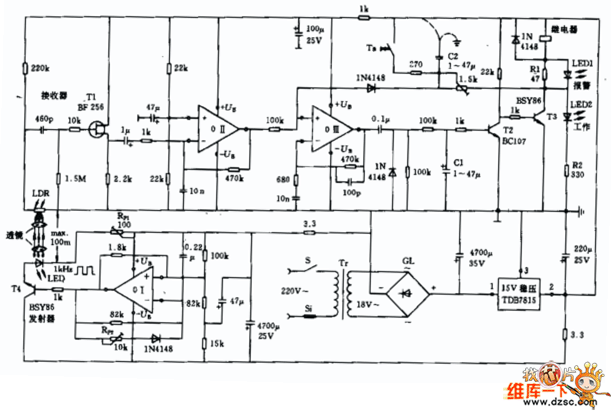
The Remote alarm grating circuit is as shown:
Reprinted Url Of This Article:
http://www.seekic.com/circuit_diagram/Control_Circuit/Remote_alarm_grating_circuit.html
Print this Page | Comments | Reading(3)
Code: