Published:2009/7/24 4:14:00 Author:Jessie | From:SeekIC

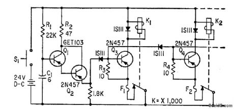
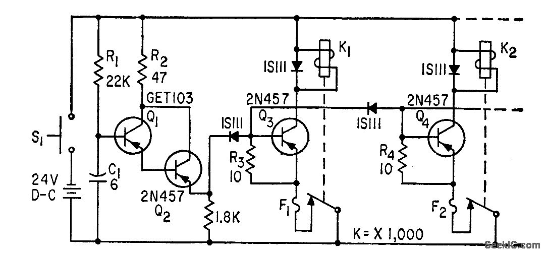
Shock-resistant design releases number of solenoid-operated mechanical locks at 10-millisec intervals. Single-stroke ramp generator Q1 starts sequence when dosing of initiation switch S1 discharges C1. Q2 reduces loading on timing circuit R1-C1 when large base currents are drawn. Ramp is sufficiently linear to provide adequate timing accuracy for eight operations.-D. H. Thompson and D. Simpson, Time-Sequence Switch, Electronics, 33:28, p 64.
Reprinted Url Of This Article:
http://www.seekic.com/circuit_diagram/Control_Circuit/SEQUENTIAL_SWITCHING.html
Print this Page | Comments | Reading(3)
Code: