Published:2009/7/11 4:56:00 Author:May | From:SeekIC

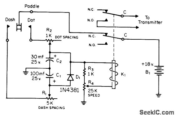
Based on rapid charging of capacitors and controlled discharge through relay coil. When C, has discharged to relay release voltage, relay drops out and cycle starts over again as long as dot side of paddle is pressed. Dashes are similarly formed by C1. R4 adjusts speed from 10 to 40 WPM. K1 is DPDT plate-current relay having 1K to 10K resistance.-J. J. Russo, An Inexpensive Electronic Keyer, CQ, Aug. 1971, p 58.
Reprinted Url Of This Article:
http://www.seekic.com/circuit_diagram/Control_Circuit/SIMPLE_KEYER.html
Print this Page | Comments | Reading(3)
Code: