Published:2009/7/12 22:31:00 Author:May | From:SeekIC

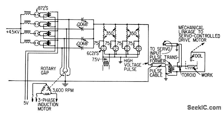
Servo-controlled high-power electric spark machine produces repeated discharges between tool electrode and workpiece to cause erosion of metal to desired shape. Power source is 4.5-KV three-phase rectifer providing peak discharge current of 4,500 amp at pulse repetition rate of 2,880 pps. Rotary gap is used for pulse switching.-E. M. Williams and C. P. Porterfield, Spark Machine Tool has Servo Control, Electronics, 31:43, p90-92.
Reprinted Url Of This Article:
http://www.seekic.com/circuit_diagram/Control_Circuit/SPARK_MACHINING_CONTROL.html
Print this Page | Comments | Reading(3)
Code: