Published:2009/7/23 22:22:00 Author:Jessie | From:SeekIC

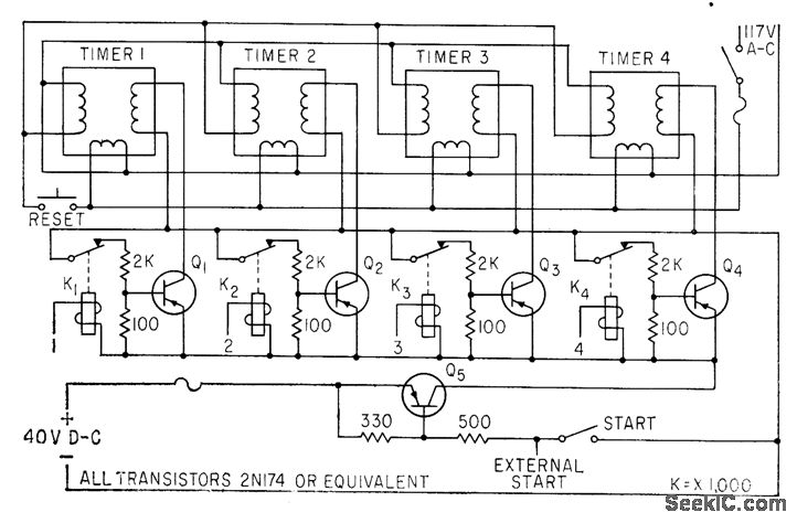
Low-cost transistor arrangement controls four precision timers used for simultaneous measurement of lime interval of four integrating circuits. Time between first digital output pulse and firing of circuit is determinable within 0.01%.-F. W. Kear, Tests Show Control is Key to Timer Accuracy, Electronics, 33:27, p 62.
Reprinted Url Of This Article:
http://www.seekic.com/circuit_diagram/Control_Circuit/START_STOP_CONTROL.html
Print this Page | Comments | Reading(3)
Code: