Published:2009/7/23 22:22:00 Author:Jessie | From:SeekIC




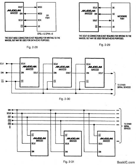
Figures 2-22, 2-23 and 2-24 show the functional diagram, pin configuration, and pin description, respect-tively, for the MAX335.Figures 2-25 and 2-26 show the timing, and three-wire interface timing, respectively. Figure 2-27 shows the serial-interface switch programmlng.This IC has eight separately controlled single-pole-single-throw(SPST) switches, all of which conduct equally in either direction, with an on-resistance(100Ω) that is constant over the analog signal range. The switches can continuously operate with supplies from ±4.5 V to ±20 V, and handle rail-to-rail analog signals. Upon power-up, all switches are off, and the internal serial and parallel shift registers are reset to zero. The IC is equivalent to two DG211 quad switches, but controlled by a serial interface. The interface is compatible with both Motorola SPI(Fig.2-28) and Microwire (Fig.2-2),Functioning as a shift register,this serial interface allows data (at DIN) to be clocked In sync with the rising edge of clock (SCLK). The shift register output ( DOUT) enables several MAX335 ICs to be daisy-chained (Fig.2-30), or the ICs can be connected as an addressable serial interface (Fig.2-31) Digital - feedthrough transients are typically 10 mV p-p when a 100-pF capacitance is used at the switch channels.MAXIM NEW RELEASES DATA Book、1995, P. 1-59, 1-64, 1-65, 1-66, 1-67, AND 1-68.
Reprinted Url Of This Article:
http://www.seekic.com/circuit_diagram/Control_Circuit/Serial_controlled_8_channel_SPST_switch_MAX335.html
Print this Page | Comments | Reading(3)
Code: