Published:2009/7/14 2:53:00 Author:May | From:SeekIC

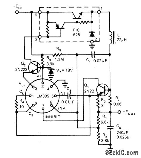
Uses LM305 regulator and Unitrode hybrid power switch in PIC600 series. Operates in fixed OFF-time mode. Output ripple of 100 mV P-P is independent of input voltage range of 20 to 40 V for output of +5 V ±1%. Switching speed is nominally 50 kHz but can go up to 100 kHz. Article covers theory of operation in detail.-L. Dixon and R. Patel, Designers' Guide to: Switching Regulators, EDN Magazine, Oct. 20, 1974, p 53-59.
Reprinted Url Of This Article:
http://www.seekic.com/circuit_diagram/Control_Circuit/Switch_Control/5_V_FIXED_OFF_TIME_SWITCHING.html
Print this Page | Comments | Reading(3)
Code: