Published:2009/7/8 1:53:00 Author:May | From:SeekIC

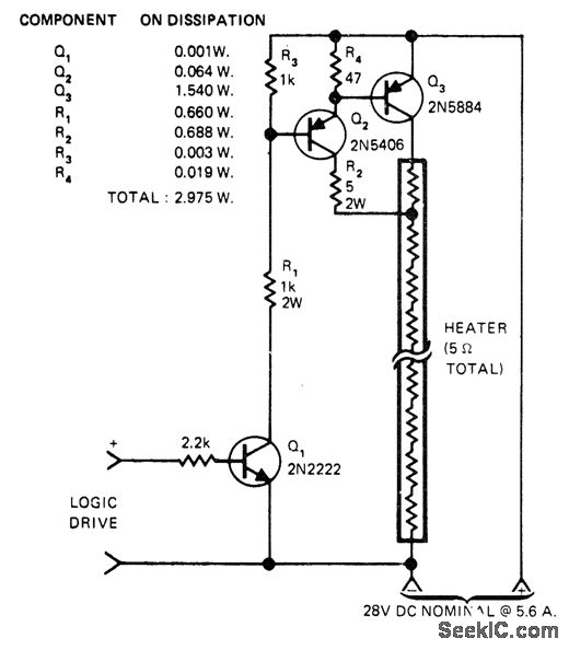
Logic-controlled power switch for 150-W instrument heater uses tap on heating element to force switch Q3, and driver Q2, into saturation and keep dissipation low. When input goes positive, Q1 turns on and drives Q2 and Q3 on. Collector current of Q2, and base drive of Q3 are determined by R2,. Voltage drop across R2 is proportional to supply voltage so drive for Q3 is at optimum level over wide voltage range,-M. Strange, Increase Electronic Power Switch Efficiency, EDN Magazine, Aug.20, 1975, p 78.
Reprinted Url Of This Article:
http://www.seekic.com/circuit_diagram/Control_Circuit/Switch_Control/LOW_DISSIPATION_SWITCH.html
Print this Page | Comments | Reading(3)
Code: