Published:2009/7/13 4:45:00 Author:May | From:SeekIC

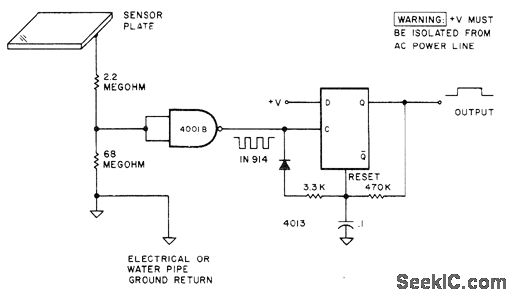
Based on coupling of human body to 60-Hz power line. Hand held close to sensor plate induces hum into 4001B gate. This is squired and used to trip 4013 retriggerable mono MVBR. Output is clean from instant of first proximity until several milliseconds after release. Sensitivity depends on size of plate.-D. Lancaster, Clocked Logic, Kilobaud, May 1977, p 24-30.
Reprinted Url Of This Article:
http://www.seekic.com/circuit_diagram/Control_Circuit/Switch_Control/PROXIMITY_SWITCH_1.html
Print this Page | Comments | Reading(3)
Code: