Published:2009/7/10 22:40:00 Author:May | From:SeekIC

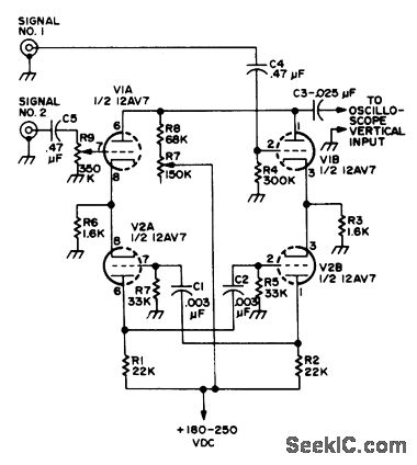
Two-tube electronic switch serves in effect to provide simultaneous presentation of two different signals on CRO screen by switching signals alternately to vertical input at rate fast enough so both displays are seen.-Novice Q & A, 73 Magazine, March 1977, p 187.
Reprinted Url Of This Article:
http://www.seekic.com/circuit_diagram/Control_Circuit/Switch_Control/SIGNAL_SWITCHER.html
Print this Page | Comments | Reading(3)
Code: