Published:2009/6/18 4:04:00 Author:May | From:SeekIC

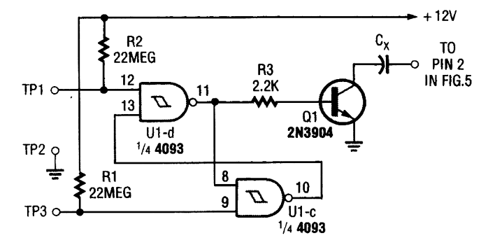
Two NAND Schmitt triggers are connected in a flip-flop configuration to produce a bridged touch-activated switch.
Reprinted Url Of This Article:
http://www.seekic.com/circuit_diagram/Control_Circuit/Switch_Control/TOUCH_SWITCH_I.html
Print this Page | Comments | Reading(3)
Code: