Published:2009/7/21 23:41:00 Author:Jessie | From:SeekIC

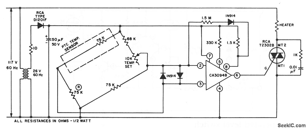
This circuit shows a CA3094B and triac that are connected to form a temperature controller.
Reprinted Url Of This Article:
http://www.seekic.com/circuit_diagram/Control_Circuit/TEMPERATURE_CONTROLLER.html
Print this Page | Comments | Reading(3)
Code: