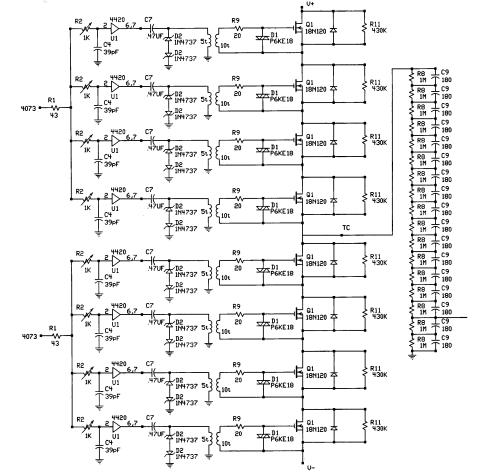
Published:2013/2/24 21:20:00 Author:muriel | Keyword: TESLA COIL , DRIVER | From:SeekIC

Reprinted Url Of This Article:
http://www.seekic.com/circuit_diagram/Control_Circuit/TESLA_COIL_DRIVER_2.html
Print this Page | Comments | Reading(3)
Code: