Published:2009/6/29 23:18:00 Author:May | From:SeekIC

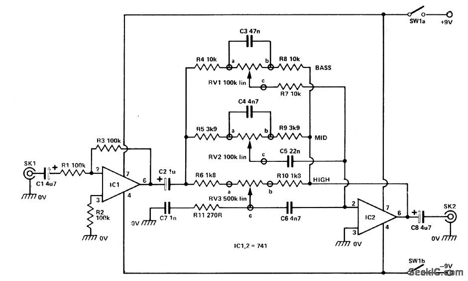
The input signal is fed via SKI to the first active stage built around IC1. Configured as a noninverting amplifier whose gain is set by the ratio of R3 and RI. In this case, the gain is set at unity. This initial stage is required to isolate the following stage from any loading effects. The output from IC1 is fed via three frequency shaping networks to IC2. The three networks built around RV1, RV2, and RV3 are also in-cluded in the feedback path of IC2, another inverting op amp stage. The components as-sociated with the three variable resistors are chosen to give the required frequency control.
Reprinted Url Of This Article:
http://www.seekic.com/circuit_diagram/Control_Circuit/THREE_CHANNEL_TONE_CONTROL.html
Print this Page | Comments | Reading(3)
Code: