Published:2009/6/17 20:57:00 Author:May | From:SeekIC

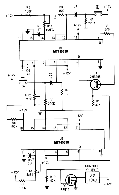
When S1 is closed, pin 9 of U1 goes low, turning on Q1 for a preset period. If S2 is closed during this period, Q2 is turned on for a preset period. R11 and R13 set the two time periods.
Reprinted Url Of This Article:
http://www.seekic.com/circuit_diagram/Control_Circuit/TIMED_SAFETY_CIRCUIT.html
Print this Page | Comments | Reading(3)
Code: