Published:2009/7/21 21:21:00 Author:Jessie | From:SeekIC

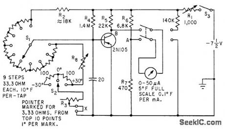
Base bias of germanium transistor varies linearly with temperature over wide ranee, at about 0.0014 v d-c per deg F. Meter is connected to measure base bias and calibrated in degrees for household and outdoor tempera tures. Range switch S1 covers 0 to 100°F in ten steps, and S2 extends range 30°in both directions.-L. E. Barton, Measuring Temperature with Diodes and Transistors, Electronics, 35:18, p 38-40.
Reprinted Url Of This Article:
http://www.seekic.com/circuit_diagram/Control_Circuit/TRANSISTOR_THERMOMETER.html
Print this Page | Comments | Reading(3)
Code: