Published:2009/6/18 3:58:00 Author:May | From:SeekIC


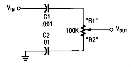
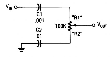
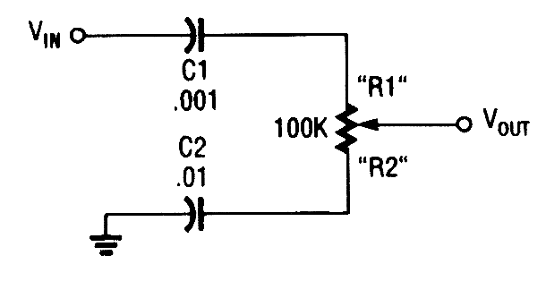
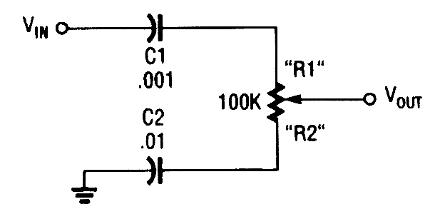
The treble control has capacitors placed in series with the potentiometer.
Reprinted Url Of This Article:
http://www.seekic.com/circuit_diagram/Control_Circuit/TREBLE_TONE_CONTROL.html
Print this Page | Comments | Reading(3)
Code: