Published:2011/7/25 21:51:00 Author:Ecco | Keyword: Temperature controller | From:SeekIC

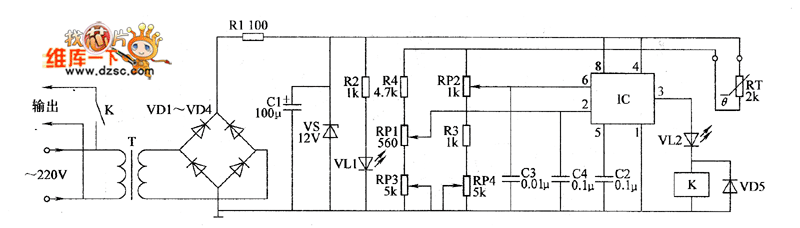
The temperature controller circuit is composed of the power supply circuit and temperature detection control circuit, and it is shown as the chart. Power supply circuit is composed of the power transformer T, rectifier diodes VD1 ~ VD4, resistors RI, power indicator LED VL1, filter capacitor C1 and Zener VS and so on. Temperature detection control circuit consists of thermistor RT, time-base integrated circuit IC, potentiometers RP1 ~ RP4, resistors R2 ~ R4, capacitors C2 ~ CZ, relay Kl, diode VD5 and light emitting diode VL2.
Reprinted Url Of This Article:
http://www.seekic.com/circuit_diagram/Control_Circuit/Temperature_controller_8.html
Print this Page | Comments | Reading(3)
Code: