Published:2009/7/24 2:18:00 Author:Jessie | From:SeekIC

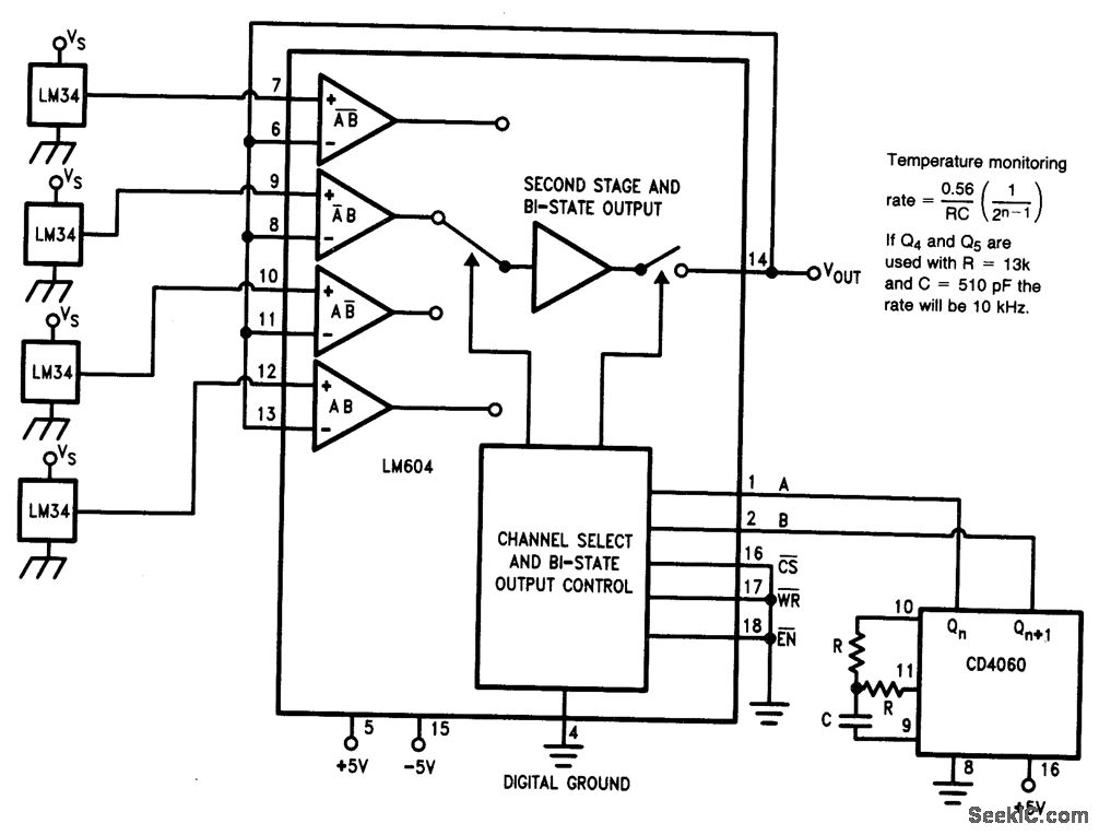
Fig. 13-13 This circuit uses an LM604 mux/amplifier to monitor several temperatures periodically, rather than continuously. Each channel is multiplexed to the output, according to the AB channel select. The CD4060 ripple binary counter has an on-board oscillator for continuous updating of the channel selects. National Semiconductor, Linear Applications Handbook 1991 p 1080.
Reprinted Url Of This Article:
http://www.seekic.com/circuit_diagram/Control_Circuit/Temperature_scanner.html
Print this Page | Comments | Reading(3)
Code: