© 2008-2012 SeekIC.com Corp.All Rights Reserved.
Published:2009/7/24 2:09:00 Author:Jessie | From:SeekIC

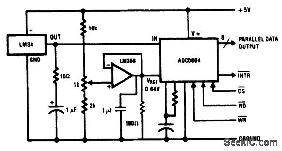
Fig. 13-7 This circuit converts temperature (from 0 to 128°F) to a parallel data word (8 bits when appropriate read, write, chip-select signals are received from the system). The circuit can be interfaced with a standard microprocessor data bus, and it provides an interrupt signal to the microprocessor. The scales are adjusted by the 1-kΩ pot so that all 8 bits are at digital1 when the temperature is +128°F. In practice, the VREF/2 pin of the ADC0804 is set to 0.64V. National Semiconductor Linear Applications Handbook. 1991 p 1077.
Reprinted Url Of This Article:
http://www.seekic.com/circuit_diagram/Control_Circuit/Temperature_to_digital_converter_parallel_output.html
Print this Page | Comments | Reading(3)
Response in 12 hours
© 2008-2012 SeekIC.com Corp.All Rights Reserved.
Code: