Published:2011/7/23 3:36:00 Author:qqtang | Keyword: burglarproof alarm | From:SeekIC

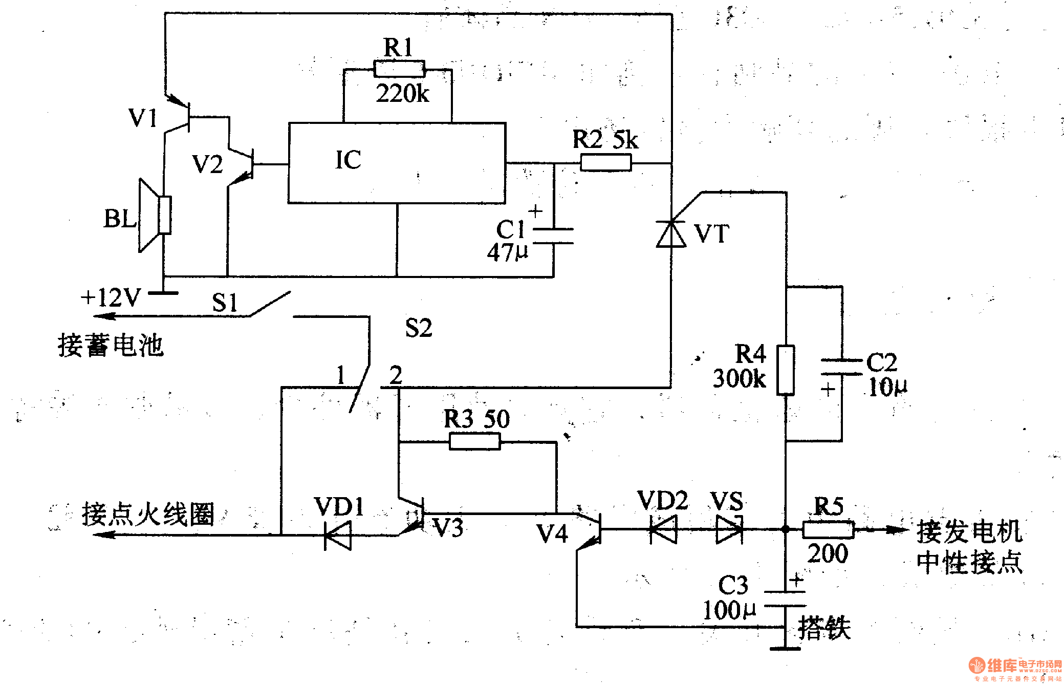
The working principle of the circuit The burglarproof alarm circuit consists of the trigger control circuit and sound alarm circuit, see as figure 7-82.
The trigger control circuit consists of the igniting switch S1, alarm control switch S2, resistors R3-R5, capacitors of C2 and C3, regulated diode VS, diodes of VD1 and VD2, transistors of V3 and V4. The sound alarm circuit consists of the resistor R1, capacitor C1, thyristor VT, transistors of V1 and V2, audio circuit IC and loudspeaker BL.
Reprinted Url Of This Article:
http://www.seekic.com/circuit_diagram/Control_Circuit/The_automobile_burglarproof_alarm_4.html
Print this Page | Comments | Reading(3)
Code: