Published:2011/7/23 3:11:00 Author:qqtang | Keyword: multi-function alarm | From:SeekIC

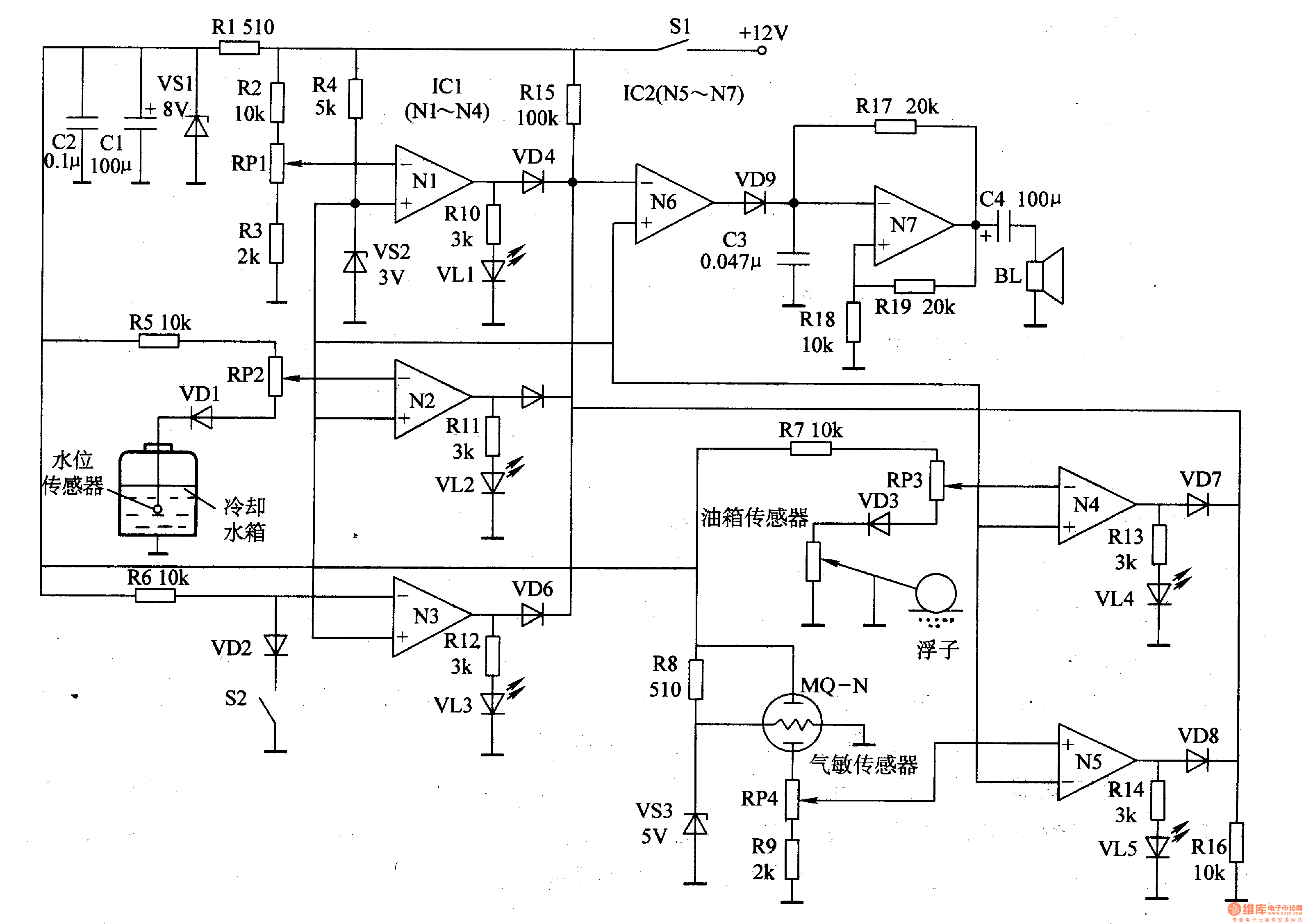
The working principle of the circuitThe automobile multi-function alarm circuit consists of the regulator circuit, storage battery voltage detection circuit, water tank level detection circuit, car door closeing state detection circuit, oil volume detection circuit, alcohol density detection circuit, LED indicator circuit and sound alarm circuit, see as figure 7-99.
The regulator circuit consists of the current limit resistor R1, regulator diode VS1 and filter capacitors of C1 and C2.
Reprinted Url Of This Article:
http://www.seekic.com/circuit_diagram/Control_Circuit/The_automobile_multi_function_alarm_3.html
Print this Page | Comments | Reading(3)
Code: