Published:2011/7/22 23:03:00 Author:qqtang | Keyword: driller, safety protection controller | From:SeekIC

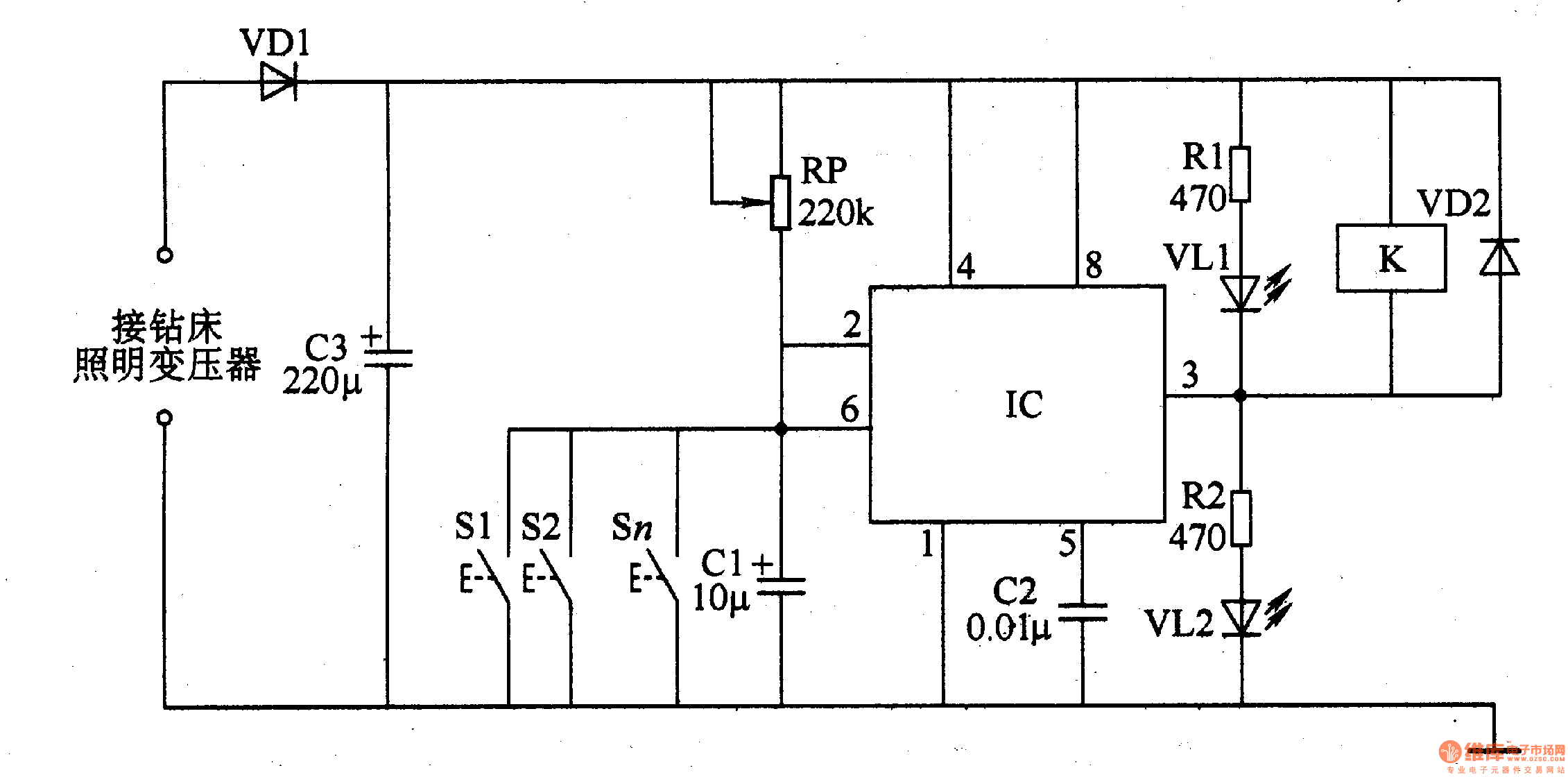
The working principle of the circuit The driller safety protection controller consists of the trigger switches Sl-Sn, resistors of R1 and R2, potentiometer RP, capacitors C1-C3, LED VL1 and VL2, diodes of VD1 and VD2, time-based circuit IC and relay circuit K, see as figure 8-86.
The 6.3V AC voltage from the driller lighting transformer provides with DC working power supply for the IC after it is rectified by VD1 and filtered by C3.
Reprinted Url Of This Article:
http://www.seekic.com/circuit_diagram/Control_Circuit/The_driller_safety_protection_controller.html
Print this Page | Comments | Reading(3)
Code: