Published:2011/8/3 22:16:00 Author:qqtang | Keyword: high temperature protector | From:SeekIC

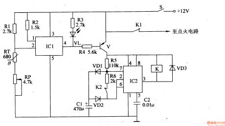
Here is to introduce an engine high temperature protector which can cut of the igniting power supply when the water in the tank is hotter than 90℃, so the car is stalled and protected, and the dangers caused by high heat can be avoided. The principle of the circuitThe engine high temperature protector consists of the temperature control circuit and protection control circuit, see as figure 7-159.
The temperature test controller circuit consists of the thermistor RT, potentiometer RP, resistor R1-R3, electric switch integrated circuit IC1 and heat alarm indicating LED VL.
Reprinted Url Of This Article:
http://www.seekic.com/circuit_diagram/Control_Circuit/The_engine_high_temperature_protector.html
Print this Page | Comments | Reading(3)
Code: