Published:2011/7/23 8:46:00 Author:qqtang | Keyword: oil volume detector | From:SeekIC

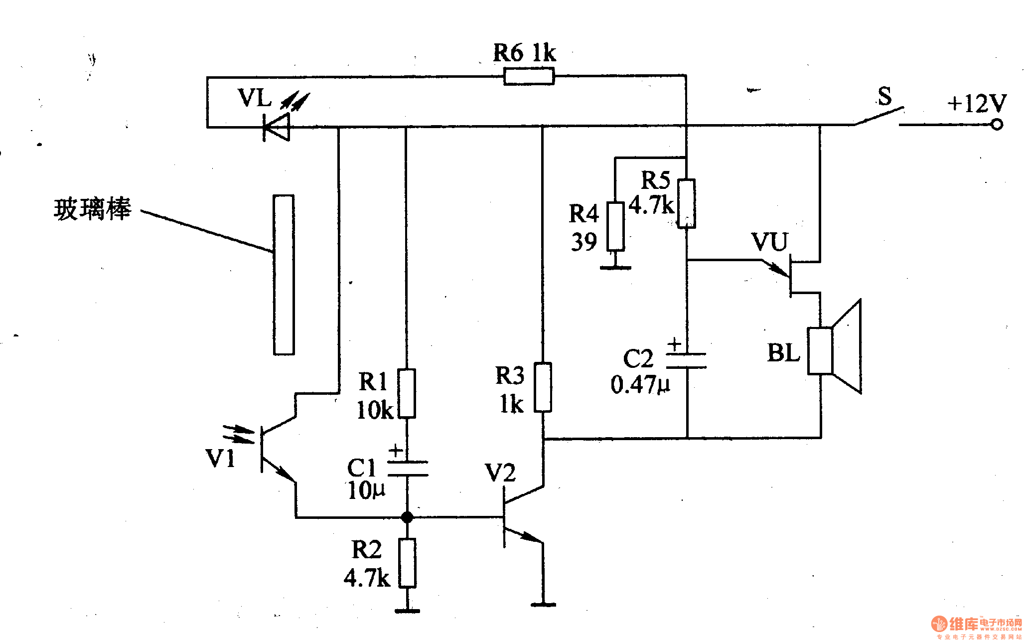
The working principle of the circuitThe engine oil volume detector consists of the photoelectric control circuit and sound alarm circuit, see as figure 7-63.
The photoelectric control circuit consists of the LED VL, light sensitive transistor V1, resistors of R1-R3 and R6, capacitor C1 and transistor V2.The sound alarm circuit consists of the resistor(R4, R5), capacitor C2, single knot transistor VU and loudspeaker BL.
Reprinted Url Of This Article:
http://www.seekic.com/circuit_diagram/Control_Circuit/The_engine_oil_volume_detector.html
Print this Page | Comments | Reading(3)
Code: