Published:2011/6/18 21:29:00 Author:Lucas | Keyword: farm, thermostat controller | From:SeekIC

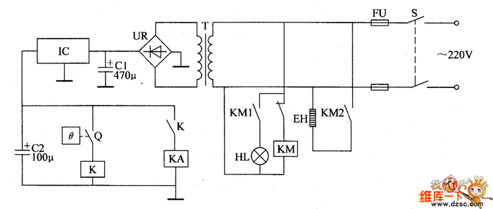
The farm thermostat controller circuit is composed of the power supply circuit and temperature control circuit, and the circuit is shown in the chart. Power supply circuit is composed of the power switch S, fuse FU, power transformer T, bridge rectifier UR, filter capacitors C1, C2, and three-terminal voltage regulator integrated circuit IC. Temperature control circuit consists of electric heating thermometer Q, relay K, intermediate relay KA, AC contactor KM, electric heater EH and heating indicator light HL. C1 and C2 select the aluminum electrolytic capacitor with the voltage above 35V. UR selects the 1 ~ 2A, 50V bridge rectifier. IC selects 78H24 three-terminal regulator IC.
Reprinted Url Of This Article:
http://www.seekic.com/circuit_diagram/Control_Circuit/The_farm_thermostat_controller_circuit_diagram.html
Print this Page | Comments | Reading(3)
Code: