Published:2011/7/23 2:37:00 Author:qqtang | Keyword: oil furnace, controller | From:SeekIC

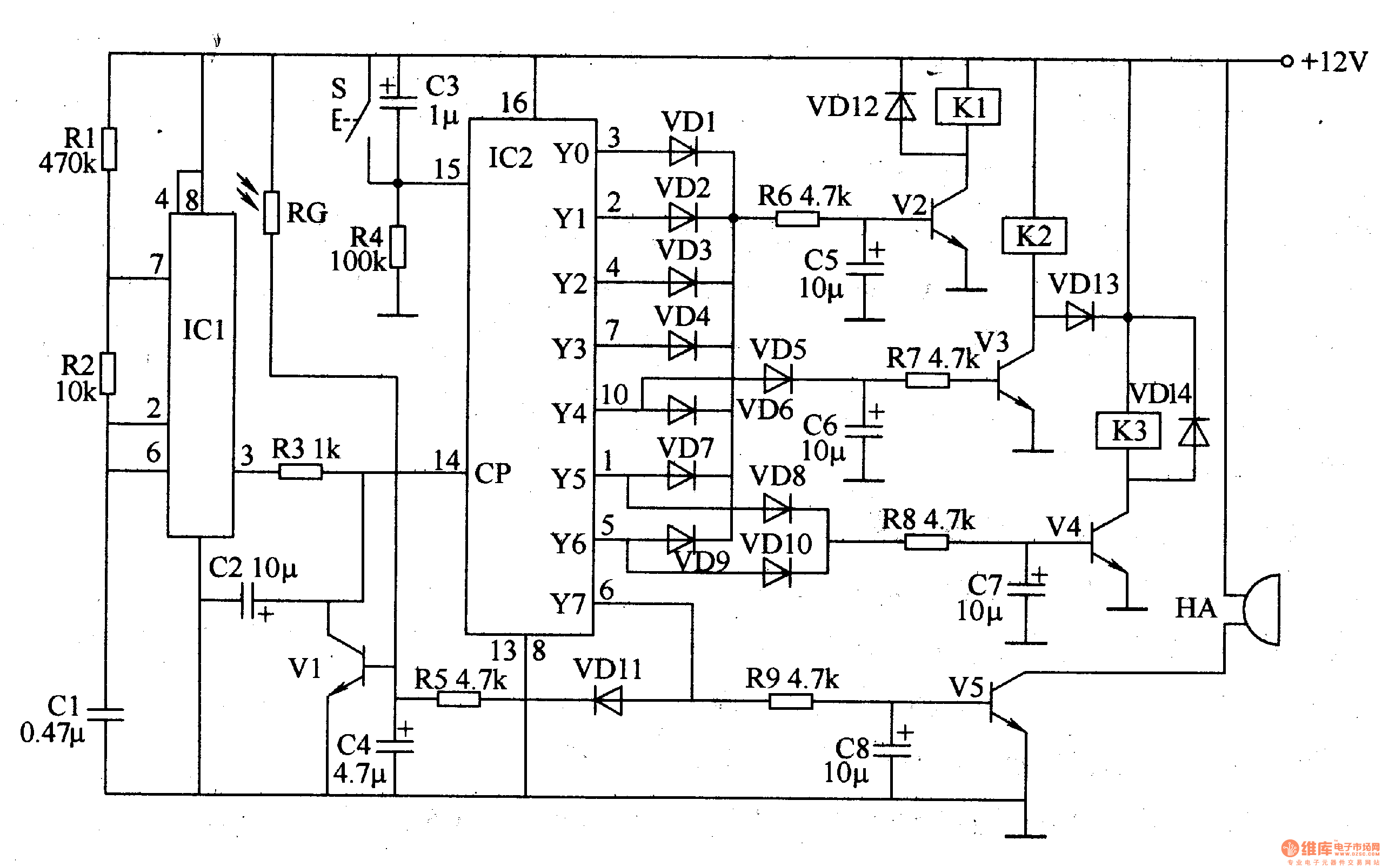
The working principle of the circuitThe industrial oil furnace controller consists of the multi-resonance oscillator, control circuit and fire detection/extinguish alarm circuit, see as figure 8-88.
The multi-resonance oscillator consists of the time-based circuit IC1, resistors of R1 and R2, capacitor C1. The control circuit consists of the counter/pulse distributor circuit IC2, reset key S, diode VD1-VD4, resistor R3-R8, transistor V2-V4, relay K1-K3, capacitors C3 and C5-C7.
Reprinted Url Of This Article:
http://www.seekic.com/circuit_diagram/Control_Circuit/The_industrial_oil_furnace_controller_1.html
Print this Page | Comments | Reading(3)
Code: