Published:2011/7/22 9:33:00 Author:qqtang | Keyword: light control, approaching switch | From:SeekIC

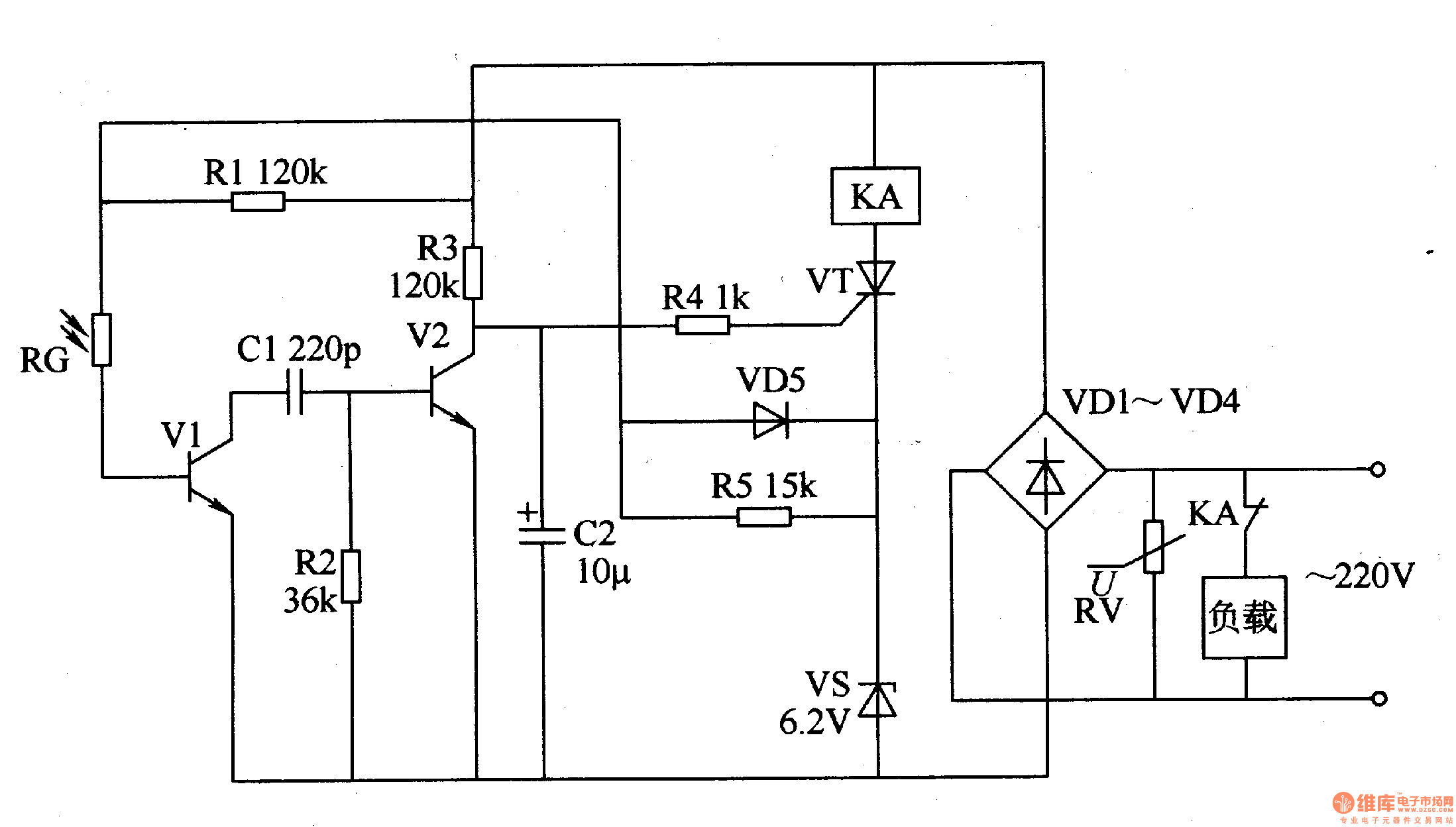
The working principle of the circuitThe light control approaching switch circuit consists of the LDR RG, pressure sensitive resistor RV, transistors of V1 and V2, resistor Rl-R5, capacitors of C1 and C2, regulated diode VS, thyristor VT and diodes VDl-VD5, etc, see as figure 8-130.
Usually, RG is in a low LEV due to the light, V1 and V2 are both conducting, VT is blocked, the middle relay KA is in the releasing state, its normally closed contactor is conducting, the load is getting power and working.
Reprinted Url Of This Article:
http://www.seekic.com/circuit_diagram/Control_Circuit/The_light_control_approaching_switch_circuit.html
Print this Page | Comments | Reading(3)
Code: