Published:2011/6/9 6:43:00 Author:Lucas | Keyword: loom , electricity saving controller | From:SeekIC

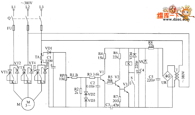
The loom electricity saving controller circuit is composed of the 12V regulated power supply circuit, current detection amplifier, relay control circuit and motor control switch circuit, and the circuit is shown as the chart. 12V regulated power supply circuit is composed of the power transformer T, bridge rectifier UR, filter capacitors C4 and C5, current limiting resistor R8 and Zener diode VS. Current detection amplifier circuit is composed of the power transformer TA, diodes VD1 ~ VD3, capacitor C1, potentiometer RP, resistors R1 ~ R4 and transistor V1. Relay control circuit consists of resistors R5 ~ R7, capacitor C3, transistor V2 and 1 / 3, diode VD4, start button s and relay K. R1 ~ R7 select 1/4W metal film resistors.
Reprinted Url Of This Article:
http://www.seekic.com/circuit_diagram/Control_Circuit/The_loom_electricity_saving_controller_circuit_diagarm_2.html
Print this Page | Comments | Reading(3)
Code: