Published:2011/8/23 22:36:00 Author:qqtang | Keyword: magnetic eraser, energy-saving controller | From:SeekIC

The working principle of the circuit
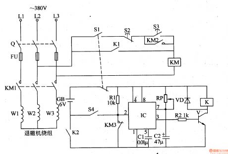
The magnetic eraser energy-saving controller circuit consists of the relay K, transistor V, time-based integrated circuit IC, diode VD, resistors of R1 and R2, potentiometer RP, capacitors of C1 and C2, battery GB, stroke switch and hand/auto control switch S1 and so on, see as figure 8-147.
All the knife-switch Q, starting key S3, stop key S2 and AC contactor KM are the former hand control line of the magnetic eraser.
When it is under auto control, the control switch S1 is reset (auto), at the moment, the normally closed contactor is getting through, the normally open contactor is turned off, the control circuit isn't working because of the breaking down of the negative pole.
Reprinted Url Of This Article:
http://www.seekic.com/circuit_diagram/Control_Circuit/The_magnetic_eraser_energy_saving_controller.html
Print this Page | Comments | Reading(3)
Code: