Published:2011/8/22 2:57:00 Author:Ecco | Keyword: Up / down machine motor , overruning brake controller | From:SeekIC

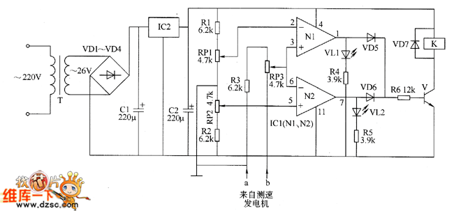
The up / down machine motor overruning brake controller circuit is composed of the power supply circuit, LED indication circuit and speed control circuit, and it is shown as the chart. Power supply circuit is composed of the power transformer T, rectifier diodes VD1 ~ VD4, filter capacitors C1, L2, and three-terminal voltage regulator integrated circuit IC2. LED indicator circuit is composed of the light-emitting diodes VL1, VL2, and resistors R4, R5. Speed control circuit is composed of the resistors R1 ~ R6, potentiometers RP1, RP2, operational amplifier integrated circuit IC1 (M, N2), diodes VD5 ~ VD7, transistor V, and relay K.
Reprinted Url Of This Article:
http://www.seekic.com/circuit_diagram/Control_Circuit/Up___down_machine_motor_overruning_brake_controller_circuit_diagram.html
Print this Page | Comments | Reading(3)
Code: