Published:2011/4/27 3:37:00 Author:Rebekka | Keyword: gas leak detector | From:SeekIC

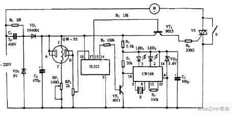
Using SL as gas leak detector circuit diagram is shown as above.
Reprinted Url Of This Article:
http://www.seekic.com/circuit_diagram/Control_Circuit/Using_SL_as_gas_leak_detector_circuit_diagram.html
Print this Page | Comments | Reading(3)
Code: