Published:2009/6/22 23:39:00 Author:Jessie | From:SeekIC

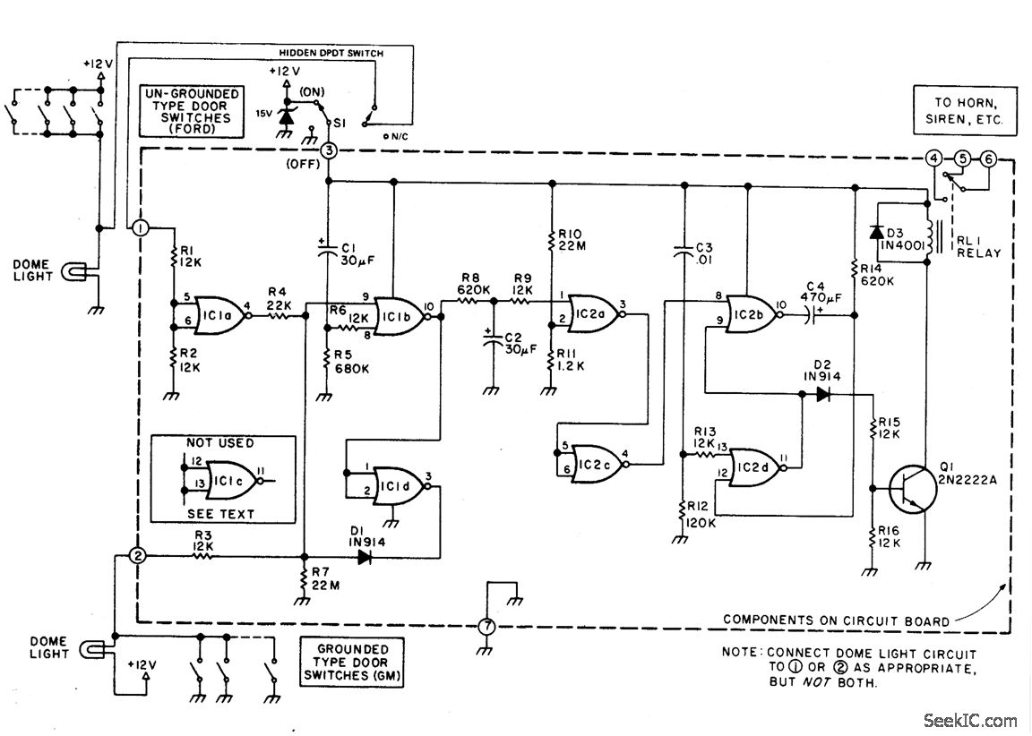
This alarm gives a 15-20 second exit and entrance delay. After being triggered, the alarm sounds for five minutes and then shuts off. Once triggered, the sequence is automatic and is not affected by subsequent opening or closing of doors.
Reprinted Url Of This Article:
http://www.seekic.com/circuit_diagram/Control_Circuit/VEHICLE_SECURITY_SYSTEM.html
Print this Page | Comments | Reading(3)
Code: