Published:2011/4/21 3:54:00 Author:Ecco | Keyword: Vehicle , flashing lights , controller | From:SeekIC

The motor vehicle flashing lights controller described in the example is composed of LED light-emitting diodes and the relative control circuit. The LED light-emitting diodes are made in various designs and installed of the rear window part of the motorcycle or car, when driving at night, the light-emitting diode is lit like the water cycle; when braking, all light-emitting diode are flashing to remind the following vehicle.
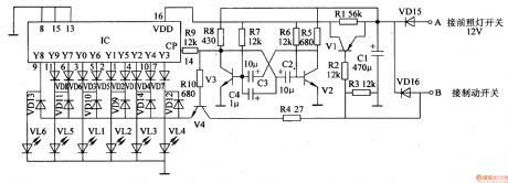
The working principleThe motor vehicle flashing lights controller is composed of electronic filter circuit, the multivibrator circuit and the LED control display circuit, it is shown in Figure 7-26.
When the YO or Y6 of IC outputs high level, VLl light emitting diode in 1 Road is lit.
When the Y1 or Y5 of IC outputs high level, VL2 light emitting diode in2 Road is lit.
When the Y3 of IC outputs high level, VL4 light emitting diode in4 Road is lit.
When the Y7 or Y9 of IC outputs high level, VL3 light emitting diode in5 Road is lit.
When the Y2 or Y4 of IC outputs high level, VLl light emitting diode in3 Road is lit.
When the Y8 of IC outputs high level, VL6 light emitting diode in6 Road is lit.
Reprinted Url Of This Article:
http://www.seekic.com/circuit_diagram/Control_Circuit/Vehicle_flashing_lights_controller_2.html
Print this Page | Comments | Reading(3)
Code: