Published:2009/6/24 21:49:00 Author:May | From:SeekIC


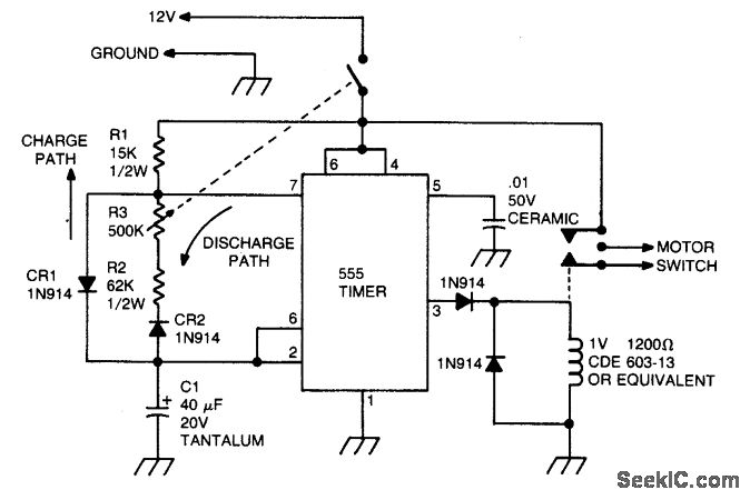
This circuit uses the 555 timer in the asta-ble or oscillatory mode. The length of time the timer is off is a function of the values of C1, R2, and R3. The potentiometer which controls the amount of hesitation . (Approximately 2 to 15 seconds.) R2 provides a minimum time delay when R3 is at its zero ohms position.
Reprinted Url Of This Article:
http://www.seekic.com/circuit_diagram/Control_Circuit/WINDSHIELD_WIPER_HESITATION_CONTROL_UNIT.html
Print this Page | Comments | Reading(3)
Code: