Published:2011/5/17 20:41:00 Author:Sue | Keyword: Water Level, Indicator | From:SeekIC

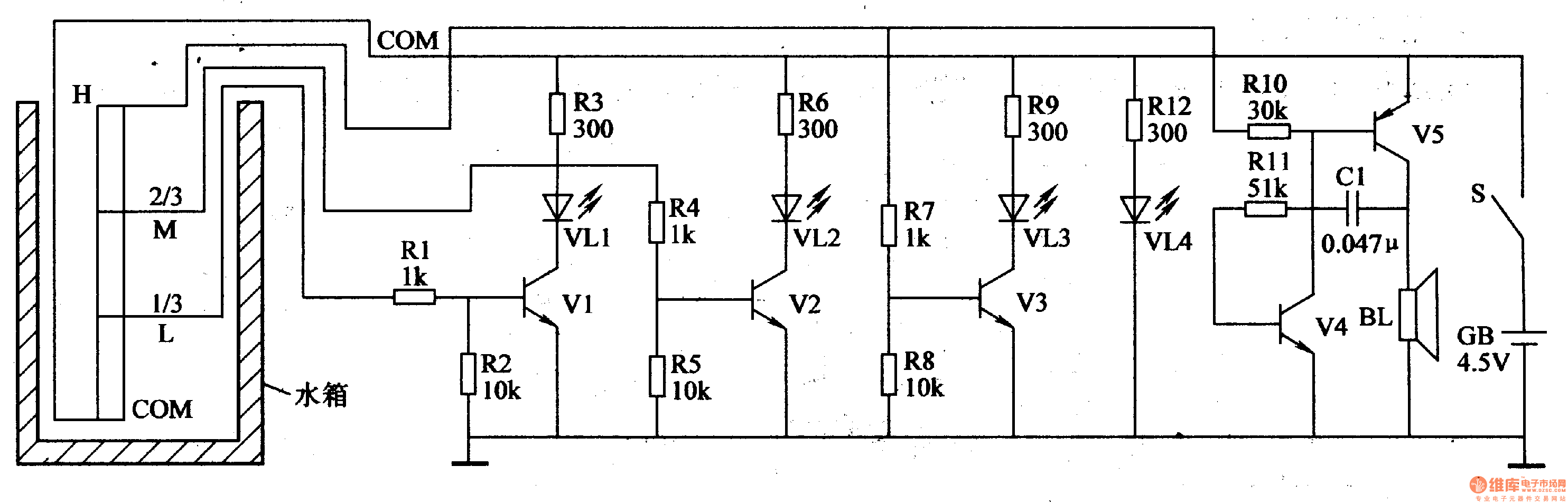
When water level is lower than L, VL1-VL3 are not illuminated.
When the level reaches L, V1 will have a high level, making VL1 illuminated, indicating that the level has reached 1/3.
When water level reaches M, VL2 is illuminated.
When the level reaches H,VL3 is illuminated, indicating the water case is full. At the same time, audio oscillator begins to work, forcing BL to make a warning sound to inform the users.
Reprinted Url Of This Article:
http://www.seekic.com/circuit_diagram/Control_Circuit/Water_Level_Indicator_3.html
Print this Page | Comments | Reading(3)
Code: