Published:2009/7/14 1:37:00 Author:May | From:SeekIC

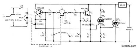
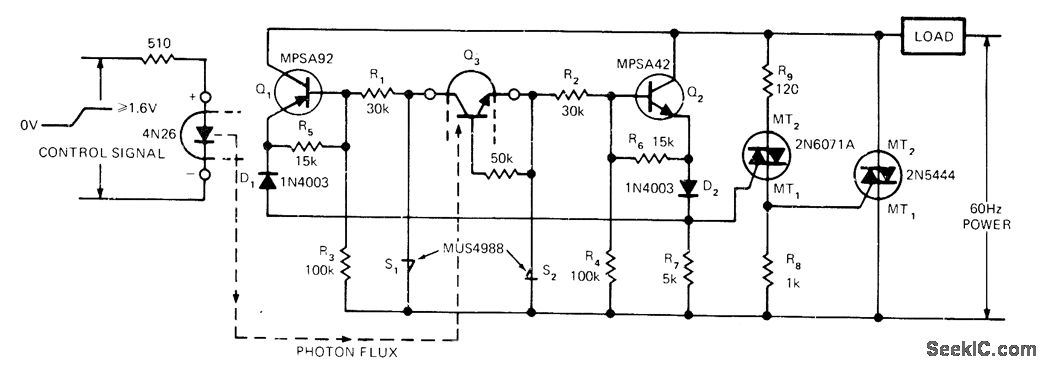
When control signal calls for power, optoisolator energizes circuit that provides load turn-on at zero-voltage time of AC waveform. If phototransistor Q3 of optoisolator is illuminated after S1 drops to 1-V conduction voltage of MUS4988, triacs will not be turned on. Circuit thus provides relay-enabling voltage window, lower limit of which is point at which all components involved in turning on triacs are forward-biased. Upper limit is nominal 8-V breakover voltage of unilateral switch S1. S2 performs similar function on negative voltage alternations. Load-controlling triac is rated 40 A.-T. Mazur, Solid-State Relays Offer New Solutions to Many Old Problems, EDN Magazine, Nov. 20, 1973, p 26-32.
Reprinted Url Of This Article:
http://www.seekic.com/circuit_diagram/Control_Circuit/ZERO_CROSSING_CONTROL.html
Print this Page | Comments | Reading(3)
Code: