Published:2011/7/14 20:51:00 Author:chopper | Keyword: gas extinguishment | From:SeekIC

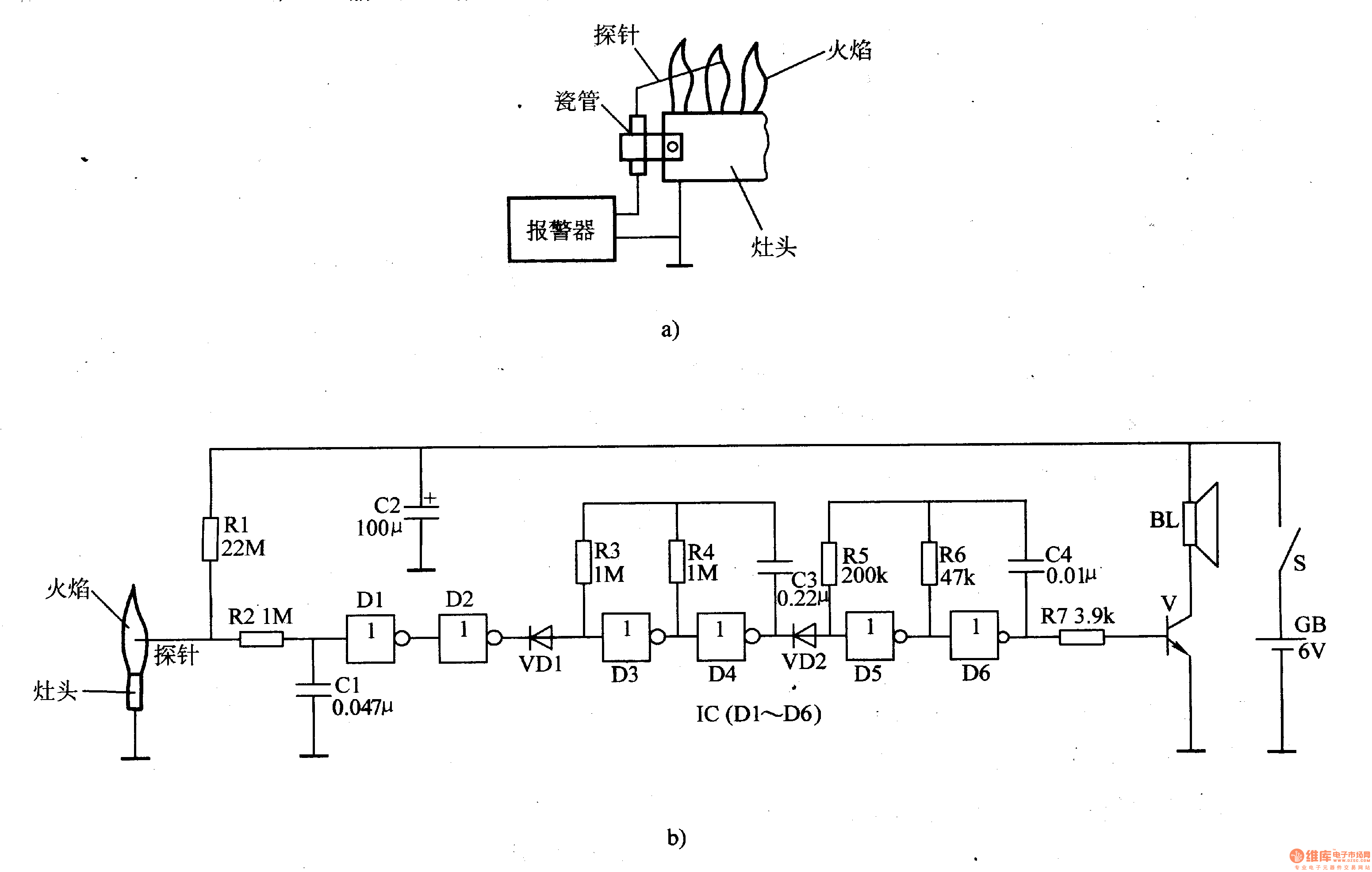
This example describes the gas flame extinguishmentalarm, and it can send a alarm when the gas flame turns off accidentlly,and notice the users,in order to eliminate hidden security trouble. Principle of the circuitThe gas flame extinguishment alarm circuit includes flame detection circuit,amplification shaping circuit,2Hz ultra-low-frequency oscillator,lkHz pulse oscillator and audio amplifier output circuit, just as 6-204 shows.
Reprinted Url Of This Article:
http://www.seekic.com/circuit_diagram/Control_Circuit/gas_flame_extinguishment_alarmI.html
Print this Page | Comments | Reading(3)
Code: