Published:2009/7/23 22:01:00 Author:Jessie | From:SeekIC

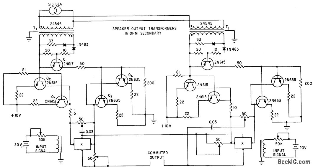
Control current circuits of series-connected Hall generators X are pulsed alternately for switching d-c input signal. Triggering for identical circuit at right occurs on opposite half-cycles of signal generators.-T. J. Marcus, Using Hall Generators as Contactless Commutators, Electronics, 35;4, p 43-45.
Reprinted Url Of This Article:
http://www.seekic.com/circuit_diagram/Electrical_Equipment_Circuit/30_KC_HALL_GENERATOR_SAMPLING_SWITCHES.html
Print this Page | Comments | Reading(3)
Code: