Published:2009/7/24 23:33:00 Author:Jessie | From:SeekIC

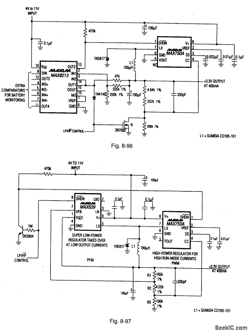
Figures 8-96 and 8-97 show two circuits that provide 3.3 V with four- to six-cell inputs. Both circuits can be switched (by an LP/HP control signal) between high-and low-power modes to accommodate equipment that operates in two modes. The circuit of Fig. 8-96 has a quiescent current of 60 μA (VIN = 4.8 V) in the LP mode and 1.6 mA in the HP mode. Maximum load current (VIN = 4 V) in LP is 10 mA, and 400 mA in HP. Efficiency (VIN = 4.8 V) in LP is 72%, with a 1-mA load, and 92% in HP, with a 100-mA load. The circuit of Fig. 8-97 has a quiescent current (VIN = 4.8 V) in the LP mode of 25 pA and 1.6-mA in HP. The maximum load current (VIN = 4 V) in LP is 50 mA, and 400 mA in HP. Efficiency (VIN = 4.8 V) in LP is 86%, with a 1-mA load, and 92% in HP, with a 100-mA load. MAXIM BATTERY MANAGEMENT CIRCUIT COLLECTION, 1994, P. 17.
Reprinted Url Of This Article:
http://www.seekic.com/circuit_diagram/Electrical_Equipment_Circuit/33_Vfrom_four_to_six_cells.html
Print this Page | Comments | Reading(3)
Code: