Published:2009/7/24 23:37:00 Author:Jessie | From:SeekIC

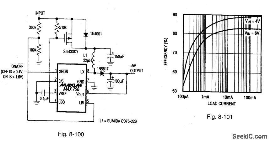
Figure 8-100 shows a MAX756 connected to provide a 5-V output from four cells. This circuit uses a diode and a PFET (in parallel) as a pre-regulator for the MAX756 boost regulator. The input voltage range is 2 V to 6.2 V, with a no-load start-up of 1.5 V, The quiescent current (VIN = 5 V) is 70 μA, with a maximum load current of 400 mA. The shutdown current is 55 μA, and battery life is 15.5 hours (using four alkaline AA cells with a 100-mA load). Figure 8-101 shows the efficiency curves, MAXIM BATTERY MANAGEMENT CIRCUIT COLLECTION, 1994, P. 22.
Reprinted Url Of This Article:
http://www.seekic.com/circuit_diagram/Electrical_Equipment_Circuit/5_V_from_four_cells_preregulation.html
Print this Page | Comments | Reading(3)
Code: