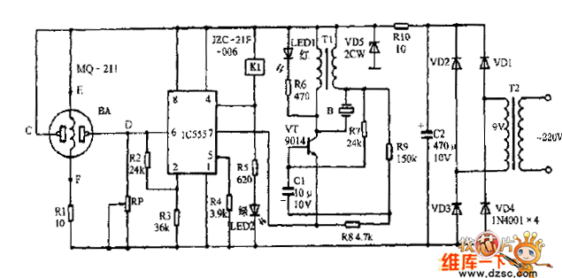
Published:2011/12/9 1:26:00 Author:Ecco | Keyword: Automatic kitchen ventilator | From:SeekIC

Reprinted Url Of This Article:
http://www.seekic.com/circuit_diagram/Electrical_Equipment_Circuit/Automatic_kitchen_ventilator_circuit_02.html
Print this Page | Comments | Reading(3)
Code: