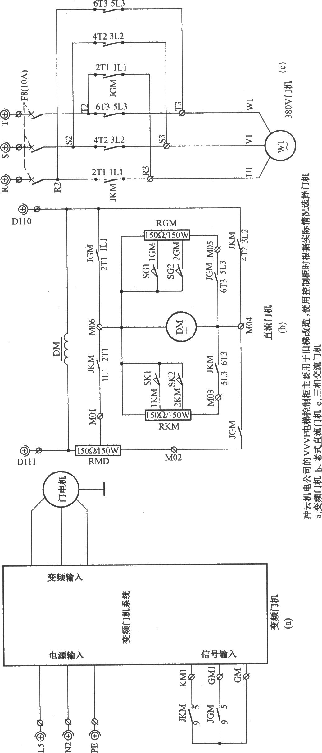
Published:2011/8/24 2:58:00 Author:Jessie | Keyword: Beijing chongyun , elevator door driver | From:SeekIC

Reprinted Url Of This Article:
http://www.seekic.com/circuit_diagram/Electrical_Equipment_Circuit/Beijing_chongyun_elevator_door_driver_circuit.html
Print this Page | Comments | Reading(3)
Code: