Published:2012/9/11 20:20:00 Author:Ecco | Keyword: Bell, two 555 timers | From:SeekIC

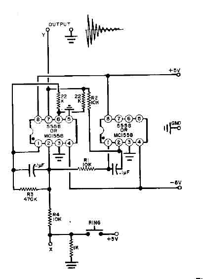
This simple Bell circuit uses two 555 timers. The frequency is controlled by the capacitors that must be preserved almost identical in value to each other for best results. Fine tuning is done with R1 and R2.
Reprinted Url Of This Article:
http://www.seekic.com/circuit_diagram/Electrical_Equipment_Circuit/Bell_circuit_with_two_555_timers.html
Print this Page | Comments | Reading(3)
Code: