Published:2009/7/21 8:01:00 Author:Jessie | From:SeekIC

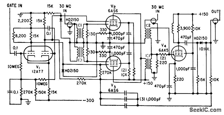
Input gate signal operates Schmitt trigger V1, to give identical but oppositely phased signals for phase detector of instrument for measuring phase differences between two signals.-R. T. Stevens, Precision Phasemeter for CW or Pulsed UHF, Electronics, 33:10, p 54-57.
Reprinted Url Of This Article:
http://www.seekic.com/circuit_diagram/Electrical_Equipment_Circuit/CHOPPER_AND_PHASE_DETECTOR.html
Print this Page | Comments | Reading(3)
Code: