Published:2009/7/20 22:13:00 Author:Jessie | From:SeekIC

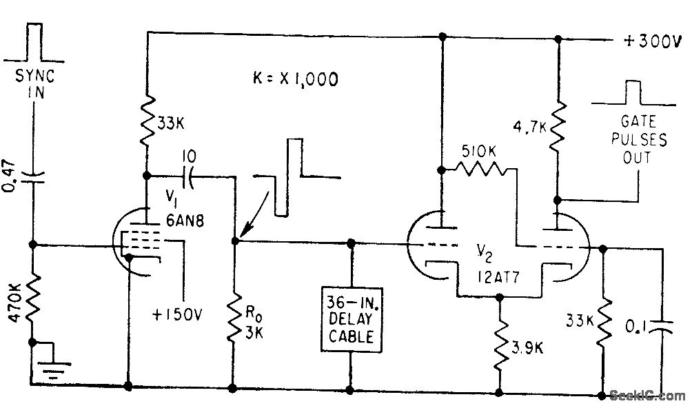
Provides burst gating pulses for operating balanced-diode pate used in studio switching of color tv programs.-J. O. Schroeder, Holding Video levels While Switching Studios, Electronics, 32:22, p 96-98.
Reprinted Url Of This Article:
http://www.seekic.com/circuit_diagram/Electrical_Equipment_Circuit/COLOR_BURST_GATING_SIGNAL_GENERATOR.html
Print this Page | Comments | Reading(3)
Code: