Published:2009/7/23 22:01:00 Author:Jessie | From:SeekIC

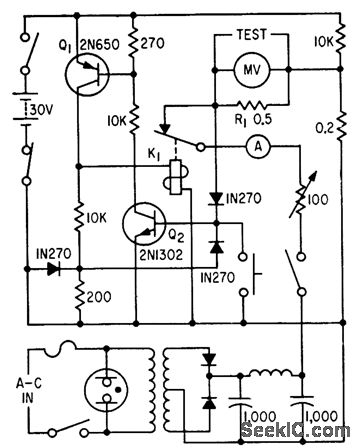
For nondestructive testing of printed-circuit conductors, through hole plating, soldered joints, and coils, in resistance range from 0 to 50 milliohms and currents up to 5 amp. Q1 and Q2 protect millivoltmeter from open-circuit voltage over loads by energizing relay K1, interrupting rectified output from cc power supply.-F. W. Kear, Unit Measures Printed Circuit Resistances, Electronics, 34:4, p 64-65.
Reprinted Url Of This Article:
http://www.seekic.com/circuit_diagram/Electrical_Equipment_Circuit/CONDUCTIVITY_TESTER.html
Print this Page | Comments | Reading(3)
Code: