Published:2011/8/11 20:23:00 Author:Ecco | Keyword: Chicken discriminator, male and female | From:SeekIC

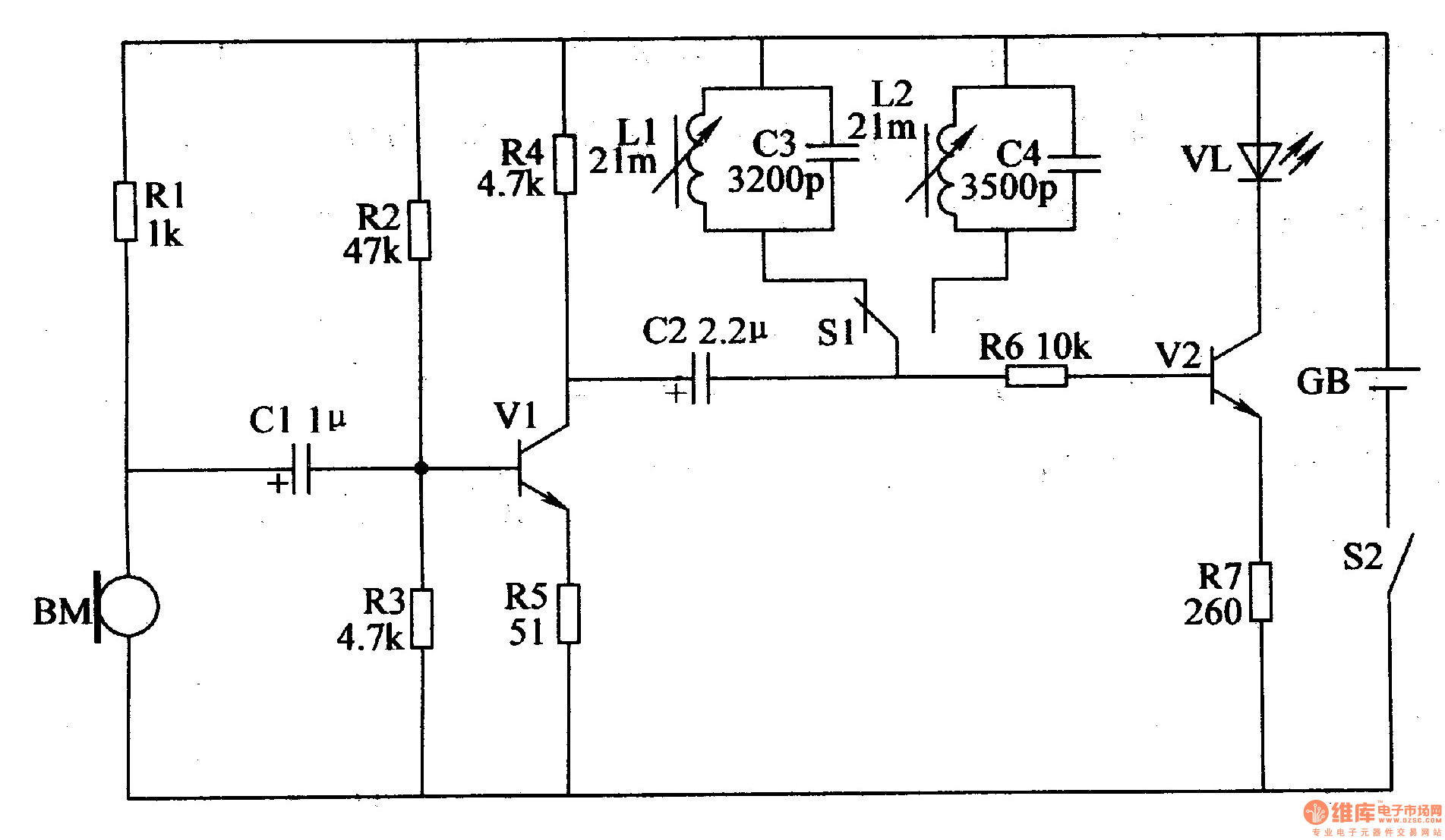
The chicken male and female discriminator circuit is composed of the pickup amplifier circuit, frequency selection circuit and LED driver circuit, and it is shown in Figure 4-12. Pickup amplifier circuit consists of the microphone BM, transistor Vl, resistors Rl-R5 and capacitor Cl. Frequency selection circuit consists of the inductors Ll, K2, capacitors C3, C4 and switch Sl. Ll and C3 form the 5.2kHz frequency selection loop, then L2 and C4 form the 4.8kHz frequency selection loop. LED driver circuit is composed of the capacitor C2, resistors R6, R7, transistor V2 and light emitting diode VL. Rl-R7 select the 1/8W metal film resistors or carbon film resistors.
Reprinted Url Of This Article:
http://www.seekic.com/circuit_diagram/Electrical_Equipment_Circuit/Chicken_male_and_female_discriminator_2.html
Print this Page | Comments | Reading(3)
Code: