Published:2011/8/11 20:32:00 Author:Ecco | Keyword: Chicks , hatched informing device | From:SeekIC

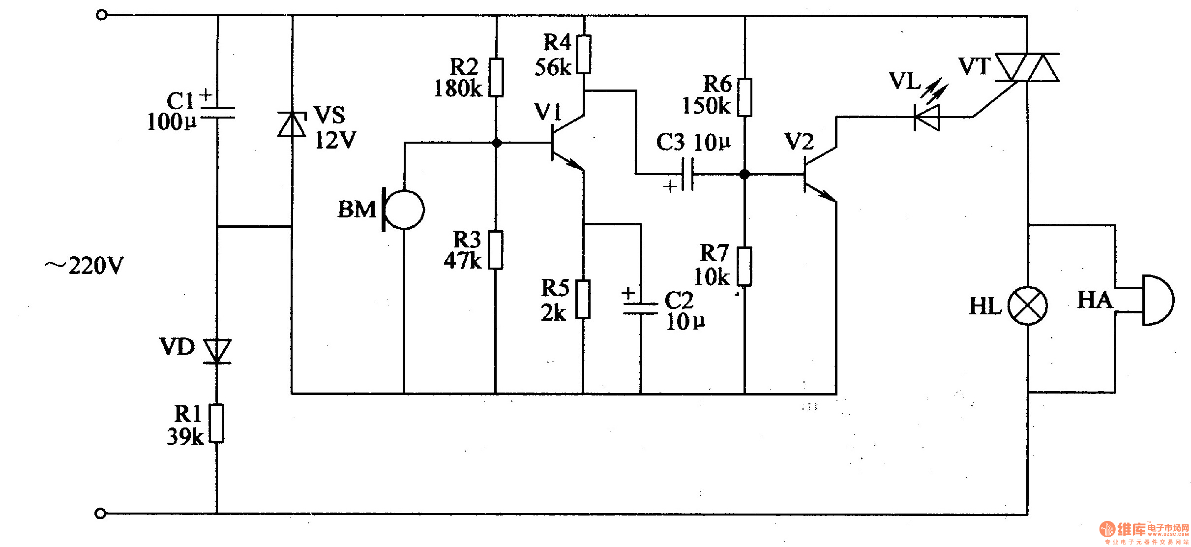
The chicks hatched informing device circuit is composed of the power supply circuit, audio amplifier and sound and light alarm circuit, and it is shown in Figure 4-13. Power supply circuit consists of the current limiting resistor Rl, rectifier diode VD, voltage regulator diode VS and filter capacitor CI. Audio amplifier circuit consists of the microphone BM, transistors Vl, V2, resistors Rl-R7 and capacitors C2, C3. Sound and light alarm circuit consists of the thyristor VT, LED VL, bell HA and lights HL. Rl uses the 3W metal film resistor; R2-R7 select the 1/4W carbon film resistors. VD uses the 1N4007 silicon rectifier diode.
Reprinted Url Of This Article:
http://www.seekic.com/circuit_diagram/Electrical_Equipment_Circuit/Chicks_hatched_informing_device_1.html
Print this Page | Comments | Reading(3)
Code: