Published:2009/7/21 7:28:00 Author:Jessie | From:SeekIC

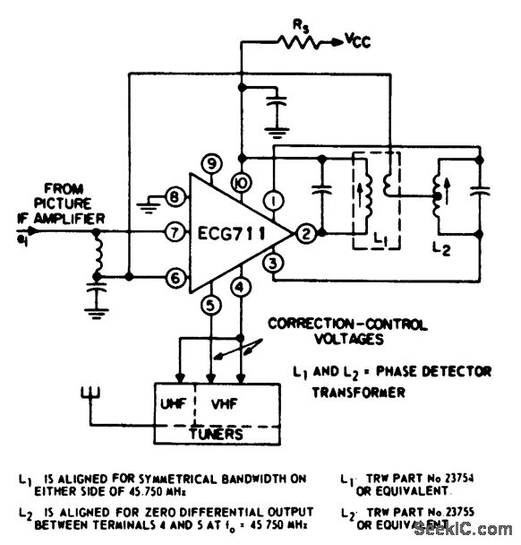
Color TV AFT circuit. The supply is +30 volts, resistor Rs is 1.5K, the bypass capacitor between pin 10 and ground is 0.001 μF, the capacitor across L1 is 91 pF, the capacitor across L2 is 68 pF, the series coil and capacitor at pins 6 and 7 are 3.3 μH and 0.001 μF and the input frequency at 45.75 MHz (courtesy GTE Sylvania Incorporated).
Reprinted Url Of This Article:
http://www.seekic.com/circuit_diagram/Electrical_Equipment_Circuit/Color_TV_AFT_circuit.html
Print this Page | Comments | Reading(3)
Code: